沂源县人民政府
沂源县综合行政执法局
首页
政务公开
政府信息公开
“双随机、一公开”
抽查情况、查处结果
标题:
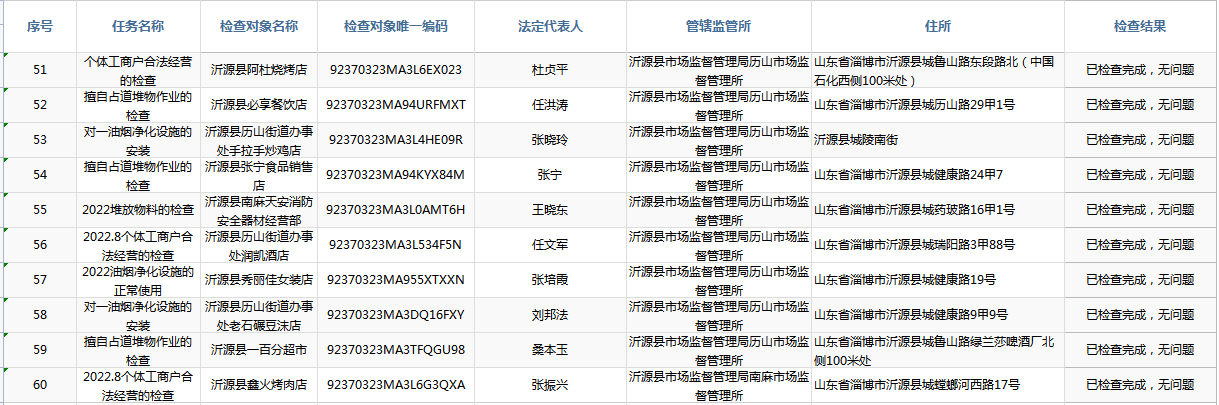
沂源县综合行政执法局2022年“双随机一公开”检查结果公示(五)
索引号:
11370323750892802W/2022-5292228
文号:
发文日期:
2022-10-26
发布机构:
沂源县综合行政执法局
沂源县综合行政执法局2022年“双随机一公开”检查结果公示(五)
发布日期:2022-10-26
字号:
大
中
小
|
打印
分享:
扫码使用手机浏览本页内容