首页 政务公开 政府信息公开 信息公开年度报告 县政府信息公开年报
标题: 沂源县人民政府2020年政府信息公开工作年度报告
索引号: 113703233130158447/2021-5128082 文号: 〔〕号
发文日期: 2021-02-19 发布机构: 沂源县人民政府
  • 标题
  • 正文
  • 手机
  • 附件
  • 解读

沂源县人民政府2020年政府信息公开工作年度报告

发布日期:2021-02-19
  • 字号:
  • |
  • 打印

沂源县人民政府2020年政府信息公开工作年度报告

本报告按照新修订的《中华人民共和国政府信息公开条例》(以下简称《条例》)《国务院办公厅政府信息与政务公开办公室关于政府信息公开工作年度报告有关事项的通知》(国办公开办函〔201960号)和《山东省政府信息公开办法》(以下简称《办法》)规定,由沂源县人民政府综合各镇人民政府、街道办事处、开发区管委会和县政府各部门、单位政府信息公开工作情况编制。

报告全文由总体情况、主动公开政府信息情况、收到和处理政府信息公开申请情况、因政府信息公开工作被申请行政复议与提起行政诉讼情况、政府信息公开工作存在的主要问题及改进情况、其他需要报告的事项等六个部分组成。

报告中所列数据统计期限自20201月1日始,至202012月31日止。报告电子版可从沂源县人民政府门户网站(www.yiyuan.gov.cn)下载。如对报告内容有疑问,请与沂源县大数据发展服务中心联系(地址:沂源县振兴路61号;邮编:256100;电话:0533-3228369;邮箱:yyxdsjzx@zb.shandong.cn)。

—、总体情况

2020年以来,沂源县严格依据新修订的《中华人民共和国政府信息公开条例》和省、市关于政务公开工作的相关决策部署,坚持以公开为常态、不公开为例外,进一步推进决策、执行、管理、服务、结果五公开,不断回应社会关切,推进政务公开平台建设,以提升政务公开质量为主线,深化重点领域信息公开,创新公开方式,全面推进权力运行全流程、政务服务全过程公开,以公开助力深化放管服改革、优化营商环境,切实增强了人民群众满意度和获得感。

(一)新《条例》贯彻落实情况。

新条例实施一周年组织全各级各部门开展新《条例》的学习宣传贯彻工作。利用县政府门户网站电子屏等公开平台宣传新《条例》,在政务公开区摆放新《条例》读本,营造学条例、用条例的良好氛围。充分利用全政务公开工作培训会的机会,加强新《条例》的宣传和解读。依据新《条例》内容优化网站栏目设置,围绕主动公开基本目录、政府信息公开指南、依申请公开流程等重点工作,不断完善机制和规程,确保新旧《条例》的有序衔接,推进新《条例》实施工作落到实处。

(二)主动公开工作情况

  2020年各镇政府、街道办事处和县政府各部门、单位共主动公开政府信息12264条,比上年增长2%。其中,政府网站公开信息6479条,政务微博公开信息784条,比上年增长17.3%,政务微信公开信息4576条,比上年增长22.7%,政府公报公开信息43条,其他方式公开信息382条。2020年比去年政府信息公开范围不断扩大,信息公开数量进一步增长,公开水平进一步提升。

1.深入推进行政权力运行领域公开

1)推进决策公开

严格落实《沂源县重大决策预公开制度》,在政府门户网站开设“重大决策预公开”专栏,设立“决策事项目录”栏目公开发布2020重大行政决策事项目录,并设立“意见征集”栏目,县重大行政决策事项立项过程中,通过沂源县人民政府网站意见征集的形式广泛听取市民群众、人大代表和政协委员的意见建议,及时对征集意见进行反馈,问需于民,问计于民,确保重大项目看得见、摸得着、能感受、更实在,让市民群众更好感受到城市温度。

2)推进会议公开

制定《沂源县政务会议开放制度》,2020年各单位按照重大行政决策行为的科学性、民主性,保障公众对政府工作的知情权、参与权、表达权和监督权,不断推进透明政府、法治政府和服务型政府建设。对政府全体会议和常务会议讨论决定的事项、政府及其部门制定的政策,除依法需要保密的以外,及时进行了公开通过图文解读、文稿解读方式,对每次常务会议以及议定事项进行解读,方便公众查看会议内容,提升政府会议内容的展示度。同时建立了人大代表、政协委员、利益相关方、公众代表等列席政府常务会议制度。2020共公开15次政府常务会议24次专题会议,其中邀请利益相关方、公众代表、专家、媒体等列席政府常务会议3

   3)推进行政执法信息公开

加快行政执法信息公开,按照谁执法谁公示原则,严格落实行政执法公示制度,规范行政执法行为。在政府网站建立“政执法公示”专栏,对行政执法的事前、事后和执法总体情况进行全面公开。

 

4做好人大代表建议和政协委员提案办理结果公开。

在政府门户网站设立“人大建议、政协提案办理”专栏,集中发布了人大代表建议和政协委员提案办理结果情况。高度重视建议和提案办理结果公开工作对涉及公共利益、公众权益、社会关切及需要社会广泛知晓的建议和提案,在县政府网站公开答复全文。2020年全县政府系统共承办人大代表建议74件,办复率100%;承办政协提案119件,办复率100%。

 

 

(5)推进政府规章、政策文件和规范性文件清理结果公开。

公开规范性文件制定主体清单、2020年政府规范性文件备案目录、规范性文件清理结果等信息,并对已发布的规范性文件进行属性标注。

 

(6)推进“双随机、一公开”领域信息公开。

按照要求及时、准确、规范向社会公开随机抽查事项、抽查结果,并根据法律、法规和工作实际情况等进行动态调整。建立健全以双随机、一公开监管为基本手段、以重点监管为补充、以信用监管为基础的新型监管机制,检查结果及时通过国家企业信用信息公示系统(山东)(http://sd.gsxt.gov.cn/index.html)“信用中国(山东淄博)(http://credit.zibo.gov.cn)”网站公开。2020年通过县政府网站“双随机、一公开”栏目公开“双随机、一公开”类信息53条。

 

 

7做好行政事业性收费信息公开

“减税降费”栏目公开政府定价的涉企经营服务性收费目录清单、行政事业性收费项目取消清单等信息。

 

2.深化重点领域信息公开 

1推进财政信息细化公开。

继续深化全县政府预决算信息公开工作通过县政府网站设立的财政预决算”专栏,链接到淄博市预决算公开统一平台(http://czyjs.zibo.gov.cn),将政府预决算、部门预决算等信息在平台公开,方便公众查阅和监督。通过在政府网站设立“财政预决算”“财政专项资金”“月度财政收支信息”“政府债务信息”等栏目,及时公开财政专项资金、财政收支情况及财政收入预判、政府债券发行和债务余额情况,公开内容更全面、细致。

     (2推进重大建设项目领域信息公开。

通过政府门户网站、政务服务平台、土地征收网站、淄博市公共资源交易网等平台,重点公开了批准服务、批准结果、招投标、征收土地、重大设计变更、施工、质量安全监督、竣工等信息。在政府网站建立了 重大建设项目批准和实施,集中公开了2020年全重大项目建设进展情况,实现项目审批、核准、备案等全过程公开。依托淄博市公共资源交易网及时公开公共资源交易公告、交易过程等信息,推动实现公共资源交易全流程透明化。

 

  (3推进公共资源配置领域信息公开。

依托淄博市公共资源交易网(http://ggzyjy.zibo.gov.cn)及时公开公共资源项目基本信息、配置(交易)过程信息、中标(成交)信息、合同履约信息等信息,推动实现公共资源交易全流程透明化。加大政府采购信息公开力度,通过县政府网站的政府采购栏目链接到中国山东政府采购网(http://www.ccgp-shandong.gov.cn)及时公开招投标、采购公告等信息。2020年,公开住房保障等信息17条,农村危旧房改造信息14条。

 

 

4推进公共监管领域信息公开。

设立“市场监管与安全生产”栏目集中公开食品药品安全信息109条,公开食品药品和产品质量公开食品抽检、产品质量监管信息11条,发布安全生产执法检查等信息24条,公开建筑市场主体不良信息记录等信息15条。公开了国有企业考核情况、国有企业履行社会责任情况、国有企业重大事项、国有企业主要行业盈利情况、主要效益指标等信息,保障社会公众的知情权。

国资国企监管公开国企主要经济效益指标、经营情况、“僵尸”企业处置等信息23条。

    (5推进灾害事故救援领域信息公开。

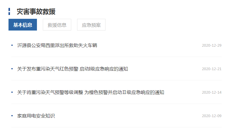
通过“灾害事故救援”栏目及时发布了次生灾害预警防范、应急处置与救援、公共卫生事件、医疗救护与卫生防疫等工作情况及动态信息,同时在救援信息里及时公开了灾害救助需求信息,推动做好救助款物和捐赠款物的数量、使用情况、救助对象及其接受救助款物数、灾后恢复重建工作进展等信息的公开工作。建立“疫情防控与复工复产”栏目,及时发布疫情防控和复工复产相关信息,向社会及时公开传染病疫情有关情况及预防、控制、治疗措施等信息。2020年共公开次生灾害预警防范信息6条,应急处置与救援信息17条,应急预案信息58条。

 

3.做好社会公益事业建设领域信息公开。

1推进精准脱贫领域信息公开。

围绕解决“两不愁三保障”面临的突出问题和脱贫攻坚扶持措施等方面,政府网站建立精准脱贫栏目,及时公开了涉及扶贫领域的行政法规、规章、规范性文件及其他政策文件。重点公开了扶贫资金分配使用情况、扶贫产业项目情况、扶贫工作成效等内容,并接受群众和社会监督。2020年通过县政府网站扶贫信息栏目共公开相关信息128条。

  2推进社会救助和社会福利领域信息公开。

重点围绕城乡低保、特困人员救助供养、医疗救助、临时救助、儿童福利、残疾人福利等事项,建立社会救助信息公开内容动态更新机制。通过县政府网站设立社会救助社会福利栏目全面公开社会救助政策文件、救助对象认定、救助标准、救助人数、资金支出等相关信息。围绕老年人福利、残疾人福利、儿童福利等事项,通过县政府网站社会福利栏目全面公开福利补贴对象认定条件、申领范围、福利补贴发放等相关政策。2020年在县政府网站社会救助社会福利栏目共发布信息160条。

 

 (3推进教育领域信息公开。

推进义务教育招生入学政策公开,通过县政府网站建立“公共企事业单位信息公开”专栏通过“教育动态”栏目及时公开义务教育招生方案、招生范围、招生程序、报名条件、学校情况、录取结果、咨询方式等信息,促进发展更加公平更有质量的教育。通过“义务教育”“学前教育”“特殊教育”“职业教育”“民办学校”栏目,重点公开我县不同阶段、不同性质学校的情况,通过专栏的形式进行分级分类,充分展现我县的教育质量和教学水平。

4推进污染防治领域信息公开。

推进环境空气质量信息公开,按月发布全县环境空气质量状况等信息。严格落实水环境质量信息发布,持续推进每月在县政府网站饮用水水质公告栏目向社会公开供水厂出水、管末水等饮水安全状况。建立重点排污单位和企业事业单位公开制度,公开重点排污单位。

 

 

5推进医疗健康领域信息公开。

围绕保障人民群众身体健康,加大医疗服务、药品安全、医保监管等方面信息公开力度。县政府网站建立“公共企事业单位信息公开”专栏通过“医疗卫生信息”栏目及时公开我县基本公共卫生服务项目承担机构名录、医疗机构数量布局和大型设备资源配置情况等基本公共卫生基础信息。对县级医院分别建立专栏进行展示,及时公开专业门诊服务内容和特色、办理入出院时间和流程、本院预约挂号的流程与方法等基本信息。2020年通过县政府网站医疗健康栏目共公开信息94条。

6推进社会保险信息公开

建立健全社会保险信息披露制度,主动公开现行有效的社会保险法规、政策、标准等。在县政府网站“社会保险”栏目公开参保人数、待遇支付情况,及时发布医保定点医院、药店及药品、诊疗项目目录等。2020年在“社会保险”栏目共发布66条信息。

 (7)推进就业创业领域信息公开。

重点公开各项就业创业优惠扶持政策的实施范围、各项补贴政策的申领条件和程序等情况。主动发布岗位供求、创业、职业培训等信息,做好面向高校毕业生、退役军人、下岗职工、农民工等重点群体的就业专项活动和高职院校考试招生信息的公开工作。

 

 (8推进征地信息领域信息公开。

在政府网站上设立“土地征收”栏目,链接到山东省征地信息公开查询系统链接方便群众查询土地审批结果、用地政策、地价、矿业权出让、执法等信息通过“公示公告”“农村集体土地征收”栏目,对我县土地征收情况进行公示。

 

    (9推进公共文化体育领域信息公开。

围绕公共文化体育的服务保障政策、财政资金投入和使用、设施建设和使用等,及时公开非物质文化遗产保护名录、公共文化体育设施名录、公益性体育赛事和活动等信息。同时多渠道及时发布公益性文化服务活动、公益性体育赛事和活动、受捐款物管理使用安排使用等情况。2020年共公开文化教育体育类信息167条。

    (10)推进公共企事业领域信息公开。

根据本年度上级关于公共企事业单位信息公开的相关要求,结合我县实际情况,设置公共企事业单位信息公开页面,细分为“教育信息”、“医疗卫生”、“公益类企业”三大领域。其中教育领域细分为“教育动态”“义务教育”“学前教育”“特殊教育”“职业教育”“民办学校”等栏目,分类公开教育教学动态、学校课程设置、划片方案、录取名单等信息。医疗卫生领域分为“医疗卫生信息”“沂源县人民医院”“沂源县中医医院”“沂源县妇幼保健院”四个栏目,公开了医院概况、医疗服务、医院环境等基本信息。“公益类企业”公开了我县5个企业的基本情况。

4.加强政策解读和回应关切

1)深入解读好重要政策措施

聚焦重大工作部署进行政策解读,在县政府门户网站开设政策解读专栏,并分为县政府发文解读专栏、文稿解读专栏、图表解读专栏、领导解读专栏、动漫视频解读、音频解读专栏。按照“谁起草谁解读”原则,切实做好政策文件与解读方案、解读材料同步组织、同步审签、同步部署。部门主要负责人履行信息发布、定调把关等“第一解读人”职责,带头解读政策,主动引导预期。进一步丰富解读形式,重点阐明政策措施的背景依据、目标任务、主要内容、涉及范围、执行标准等。同时,对网站的政策文件和解读内容进行了相互链接,方便群众阅读。 2020年,在县政府网站政策解读栏目共发布文稿解读信息147条,制作音频、视频等解读产品49件。

 

2)及时回应好社会关切

通过我县微博号“沂源发布”和微信号“掌上沂源”发布我县与公众密切相关的教育医疗、房地产市场、安全生产、道路交通等民生领域新闻信息。全面加强网上舆情巡查监测,重点关注收集的网络舆情,加强舆情的预警、分析和研判,制定网络舆情突发应急处置预案,充分做好网络突发舆情的应对准备。在政府网站“政民互动”模块通过各种渠道和方式回应公众关注热点或重大舆情。集群众监督、舆论监督、行政监督、社会监督于一体的《政风行风热线》2020年共播出15期节目,沂源县民生连线共收到公众留言309条积极开展政府开放日活动,邀请市民走进政府机关,现场了解政府机关运行和工作开展情况共开展教育、环保、医疗卫生、市场监管等民生领域政府开放日活动13次。

 

(三)依申请公开办理情况

1.收到和处理政府信息公开申请情况

2020年我县进一步规范政府信息公开申请办理工作,优化依申请工作流程,严格执行新出台的《条例》,并印发《沂源县政府信息依申请公开备案制度》。我县在县政府网站开通了政府信息公开申请受理平台,严格执行“工作机构受理,业务部门承办,重大问题会商,法制部门合法性审查”的依申请公开工作程序,依法及时办理公开申请,切实满足公民、法人和其他组织的个性化政府信息需求。

2020年共受理政府信息公开申请99件,申请内容主要集中在土地征收、补偿安置、城乡规划等领域。答复政府信息公开申请99件,均在法定期限内予以答复。

收费和减免情况:

根据财政部、国家发展改革委联合印发的《关于清理规范一批行政事业性收费有关政策的通知》规定,本年度依申请公开政府信息未收取任何费用,包括:检索费、复制费(含案卷材料复制费)、邮寄费。

2.政府信息公开行政复议、行政诉讼情况。

2020年,因政府信息公开被申请行政复议0件,因公民、法人和其他组织认为行政机关政府信息公开工作具体行政行为侵犯其合法权益,提起行政诉讼0维护了政府依法行政、公开透明的良好形象。

(四)政府信息管理情况

1.制定政策文件。为贯彻落实党中央、国务院关于政务公开工作的方针政策和省委、省政府及市委、市政府工作部署,2020年8月10日,印发了《沂源县人民政府办公室关于印发沂源县2020年政务公开工作要点的通知》(源政办字﹝2020﹞66号),要求各部门单位根据《政务公开工作任务分解表》,逐项认领本部门单位承担的工作任务,并结合实际工作制定详细的工作方案及措施,确保全县政务公开工作落到实处。印发《沂源县人民政府办公室关于印发沂源县全面推进基层政务公开标准化规范化工作实施方案的通知》(源政办字﹝2020﹞71号)和《沂源县政府信息主动公开基本目录编制调整工作方案》,对基层政务公开工作统一标准和要求,并按照实施方案进行调整和发布信息。

2.开展政务公开评估考核工作。2020年12月5日,印发了《沂源县人民政府办公室关于印发2020年沂源县政务公开工作考核方案的通知》(源政办发﹝2020﹞89号),召开了2020年度政务公开工作培训会,对2020年政务公开评估考核工作进行了安排部署确保政务公开评估考核各项工作任务落实到位。

3.加强培训,提高政务公开水平。为提升政府部门工作人员政务公开工作水平,年初制定并发布了《沂源县2020年政务公开培训计划》,采取专题培训、全员培训等方式对全县各部门单位政务公开工作人员进行了培训。

4.建立健全通报制度。为保障全县政务公开工作进度与质量,多次以沂源县政务公开工作领导小组办公室名义对各部门单位政务公开工作开展情况进行通报。印发《沂源县政务公开工作专报件》,对近期政务公开工作开展情况及各部门单位政务公开急需完成任务落实情况进行梳理,并将有关情况进行汇报。

  (五)平台建设情况

1.加快推进政府网站集约化,优化整合网站功能。2020年根据市里统一要求重新规划了政府网站“政务公开”专栏,严格按照国务院规定对页面整体布局和栏目设置进行优化梳理公开内容大为扩宽,查询检索更加便捷。同时增设“政策解读”“双随机一公开”“公共企事业单位信息公开”“行政执法公示”“政策文件发布”等专题专栏,新增疫情防控与复工复产等栏目。

2.做好县政府网站栏目维护工作,推动政府网站优质发展。严格落实网络意识形态责任制,加强政府网站内容建设和信息发布审核,把好政治关、政策关、文字关。

3.加强新媒体应用。建立健全政务新媒体管理制度和机制,统筹推进政务新媒体与政府网站的协同联动、融合发展。微信公众号“掌上沂源”、微博“沂源发布”等成为本县重要的信息公开载体。各级各部门充分发挥微博、微信等政务新媒体传播速度快、受众面广、互动性强等优势,为企业和群众提供更加便捷实用的服务。同时做好了全县政务新媒体的普查整改工作,完善互动留言功能,并保障及时更新。

4.充分发挥其他公开平台的作用。通过广播、电视频道、报刊、电子显示屏等其他渠道公开政府信息。各部门、单位主要负责人走进沂源人民广播电台《政风行风热线》直播间,解答群众疑问,发布权威信息,全年共播出节目15场。按时编辑出版《沂源县人民政府公报》。全年共编发公报4期,刊登政府规章、规范性文件等45件。

5.推进基层政务公开标准化规范化工作。根据《山东省人民政府办公厅关于全面推进基层政务公开标准化规范化工作的实施意见》(鲁政办发〔2020〕11号)和《淄博市人民政府办公室关于印发<全面推进基层政务公开标准化规范化工作实施方案>的通知》(淄政办字〔2020〕79号)有关部署在政务服务大厅、便民服务中心、档案馆等场所设立政务公开专区,提供政府信息查询、信息公开申请、办事咨询答复等服务为群众提供优质高效的政务公开与政务服务体验

(六)监督保障方面

1.健全领导体制机制印发了《沂源县人民政府办公室关于调整沂源县政务公开工作领导小组的通知》(源政办字﹝2020﹞75号),加强了全县政务公开工作的组织领导,为全县政务公开工作提供了有力的制度保障明确了县政府办公室为全县政务公开工作负责机构,并配备了政务公开工作专职人员3名。在沂源县政府办公室设立职能转变协调科。负责指导、协调、推进、监督全县政府信息公开和政务公开工作。沂源县大数据发展服务中心承担全县政务公开工作的服务工作负责配合县政府办公室推进、指导、协调全县政府信息公开和政务公开工作,承办县政府、县政府办公室政府信息主动公开工作,受理向县政府、县政府办公室提出的政府信息公开申请。组织协调县直各部门和镇、街道、开发区网站的规划、建设。承担全县政府信息公开、政务公开和政府网站的监督检查和管理考核服务保障工作。

2.强化组织保障。2020年8月20日,沂源县政府党组召开第九次会议,会议听取了关于近期政务公开工作情况的汇报,对全县政务公开工作作了安排部署。我县多次召开政务公开专题会议研究部署政务公开重点工作,主要领导和分管领导多次在《沂源县政务公开工作专报件》和文件签批单上签批意见,进一步提升了全县政务公开工作水平。

3.强化绩效考核。将政务公开工作纳入全县经济社会考核体系,切实发挥考核促工作的良性作用。围绕政务公开重点工作、薄弱环节和瓶颈问题加大政务公开绩效考核力度,提升主动公开等工作的考核分值比重。

4.实施全过程督查。印发《沂源县政务公开工作专报件》,对近期政务公开工作开展情况及各部门单位政务公开急需完成任务落实情况进行梳理,并将有关情况进行汇报。为保障全县政务公开工作进度与质量,多次以沂源县政务公开工作领导小组办公室名义对各部门单位政务公开工作开展情况进行通报并反馈给相关责任部门,要求逐一对照整改,全面提升了政务公开质量和实效

5.抓好业务培训工作。针对政务公开工作面临的新要求和新问题,组织开展了全县政务公开业务培训,不断提升全县政府信息公开工作人员的工作能力和水平。采取“以干代训”的形式,以现场培训方式对各单位分批次进行政府信息公开培训

6.无社会评议和责任追究结果情况。

二、主动公开政府信息情况

第二十条第(一)项

信息内容

本年新制作数量

本年新公开数量

对外公开总数量

规章

0

0

0

规范性文件

18

18

152

第二十条第(五)项

信息内容

上一年项目数量

本年增/减

处理决定数量

行政许可

217

+279

77486

其他对外管理服务事项

24

+20

14305

第二十条第(六)项

信息内容

上一年项目数量

本年增/减

处理决定数量

行政处罚

3674

+401

145677

行政强制

133

+28

4722

第二十条第(八)项

信息内容

上一年项目数量

本年增/减

行政事业性收费

50

0

第二十条第(九)项

信息内容

采购项目数量

采购总金额

政府集中采购

162

                     152200

 

三、收到和处理政府信息公开申请情况

(本列数据的勾稽关系为:第一项加第二项之和, 等于第三项加第四项之和)

申请人情况

自然人

法人或其他组织

总计

商业 企业

科研 机构

社会公益组织

法律 服务 机构

其他

一、本年新收政府信息公开申请数量

99

0

0

0

0

0

99

二、上年结转政府信息公开申请数量

0

0

0

0

0

0

0

三、本年度办理结果

(一)予以公开

82

0

0

0

0

0

82

(二)部分公开(区分处理的,只计这一情 形,不计其他情形)

0

0

0

0

0

0

0

(三)不予公开

1.属于国家秘密

0

0

0

0

0

0

0

2.其他法律行政法规禁止公开

0

0

0

0

0

0

0

3.危及“三安全一稳定”

0

0

0

0

0

0

0

4.保护第三方合法权益

0

0

0

0

0

0

0

5.属于三类内部事务信息

0

0

0

0

0

0

0

6.属于四类过程性信息

0

0

0

0

0

0

0

7.属于行政执法案卷

0

0

0

0

0

0

0

8.属于行政查询事项

0

0

0

0

0

0

0

(四)无法提供

1.本机关不掌握相关政府信息

14

0

0

0

0

0

14

2.没有现成信息需要另行制作

0

0

0

0

0

0

0

3.补正后申请内容仍不明确

0

0

0

0

0

0

0

(五)不予处理

1.信访举报投诉类申请

0

0

0

0

0

0

0

2.重复申请

0

0

0

0

0

0

0

3.要求提供公开出版物

0

0

0

0

0

0

0

4.无正当理由大量反复申请

0

0

0

0

0

0

0

5.要求行政机关确认或重新出具已获取信息

0

0

0

0

0

0

0

(六)其他处理

3

0

0

0

0

0

3

(七)总计

99

0

0

0

0

0

99

四、结转下年度继续办理

0

0

0

0

0

0

0

 

 

、政府信息公开行政复议、行政诉讼情况

行政复议

行政诉讼

结果 维持

结果 纠正

其他 结果

尚未 审结

总计

未经复议直接起诉

复议后起诉

结果 维持

结果 纠正

其他 结果

尚未 审结

总计

结果 维持

结果 纠正

其他 结果

尚未 审结

总计

0

0

0

0

0

0

0

0

0

0

0

0

0

0

0

 

    五、政府信息公开工作存在的主要问题及改进情况

  存在问题

 2020年,针对上一年度存在的问题进行了整改。指导各单位理顺机构设置,进一步健全了政务公开体制机制,积极搭建公众参与平台,强化政务公开领导干部和工作人员培训,不断拓展公开的广度和深度,政务公开的制度化、标准化、信息化水平明显提升,发布、解读、回应、互动的公开格局逐步健全。但与法治政府要求和人民群众的期待相比,还存在一些问题和不足。一是新《条例》实施后,专业领域的理论学习仍需加强,提升对《条例》新内容的准确把握;二是决策公开仍需进一步加强,公众参与具体举措需进一步细化完善;三是政府网站集约化建设需持续推进,公开专栏规范化建设有待加强;四是政策解读方式不够多元,精准解读效果仍需提高。

(二)改进措施

今后我县将严格按照市委、市政府和县委、县政府关于政务公开的决策部署和具体要求,以群众需求为导向,坚持以公开为常态、不公开为例外,进一步提升政务公开水平。

一是进一步落实信息发布责任。根据条例要求,持续加大主动公开力度,进一步推动办文办会公开,推动重大政策、重点指标、重点任务、重大项目的执行和落实情况信息公开,加强督查和审计发现问题及整改落实情况公开。明确各单位负责保障的板块、信息发布内容和时限要求,认真组织实施,确保信息公开任务落实到位。

二是进一步深化解读回应参与。按照谁起草谁解读原则,全面公开、精准解读相关文件,做到政策性文件与解读方案、解读材料同步组织、审签、部署,解读材料于文件公开后3个工作日内公开发布。着力提高政策解读的质量,推进多元化解读和政策施行后解读,加强对经济民生热点、创业办事痛点堵点的及时有效回应,健全重大行政决策公众参与机制,继续推进政府开放日等公众参与活动常态化规模化。

三是进一步推动重点领域信息公开。要对照国务院部门制定的26个试点领域基层政务公开标准指引,全面梳理细化相关领域政务公开事项,加大对全县重大建设项目批准和实施、公共资源配置、社会公益事业建设等重点领域的公开力度。

四是着力提升平台渠道管理和服务水平。充分发挥政府网站政务公开第一平台作用,规范建设政府信息公开专栏,集中发布应当主动公开的政府信息,优化信息检索和下载服务功能。持续推进政务公开基层标准化规范化工作,让企业和群众办事更明白、更便捷。

五是严格强化工作保障和监督。加强队伍建设,加大培训教育力度,邀请专家进行政务公开培训继续加大考核监督力度,创新考核机制,科学设置考核指标,讲究差异化,不搞“一刀切”。要进一步加强对各单位的日常考核,建立健全政务公开考核机制。加强日常业务指导与督导检查,充分调动各部门单位的工作积极性和主动性,推动政务公开工作再上新水平。

六、其他需要报告的事项

2020年在政府门户网站设立“人大建议、政协提案办理”专栏,集中发布了人大代表建议和政协委员提案办理结果情况。高度重视建议和提案办理结果公开工作对涉及公共利益、公众权益、社会关切及需要社会广泛知晓的建议和提案,在县政府网站公开答复全文。2020年全县政府系统共承办人大代表建议74件,办复率100%;承办政协提案119件,办复率100%。

本报告的数据统计期限自20201月1日起至202012月31日止,所列数据可能因四舍五入原因与数据直接相加之和存在尾数差异

 

 

                                                                    沂源县人民政府

                                                                     2021年2月19

           

   多样化展示:1.(H5)沂源县人民政府2020年政府信息公开工作年度报告

               2.(电子书)沂源县人民政府2020年政府信息公开工作年度报告

               3.(图文)沂源县人民政府2020年政府信息公开工作年度报告