沂源县人民政府
淄博市生态环境局沂源分局
首页
政务公开
政府信息公开
管理和服务公开
行政执法信息
事前公示
标题:
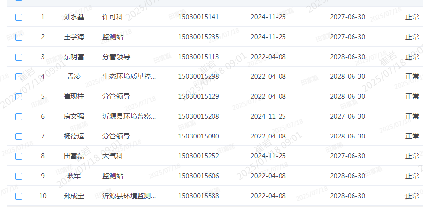
【执法人员】淄博市生态环境局沂源分局行政执法人员资格清单
索引号:
11370300MB2874721J/2026-5530876
文号:
发文日期:
2026-01-15
发布机构:
淄博市生态环境局沂源分局
【执法人员】淄博市生态环境局沂源分局行政执法人员资格清单
发布日期:2026-01-15
字号:
大
中
小
|
打印
执法人员清单.png
执法人员清单 (2).png
分享:
扫码使用手机浏览本页内容