沂源县市场监管局:依托政务公开,排查化解药品安全风险隐患

发布日期:2023-12-26浏览次数:字体:[ ]

今年来,沂源县市场监管局认真贯彻《中华人民共和国政府信息公开条例》,紧密结合市场监督管理实际,深入推进政务公开,着力打造阳光、透明市场监督管理,推进排查化解药品安全风险隐患。


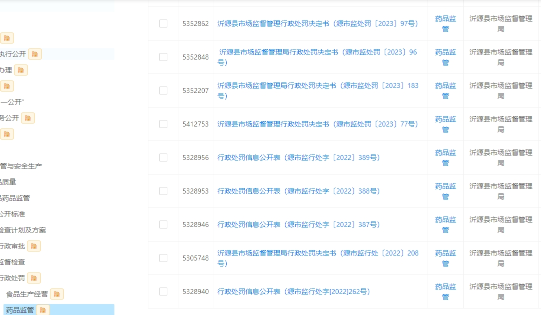
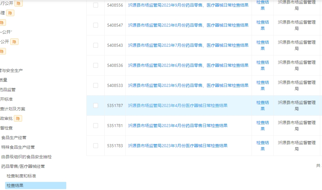
重点领域信息公开。依托沂源县人民政府网站平台,加强重点领域信息公开,突出做好药品等信息的公开工作,公开药品零售领域检查信息15条次、医疗器械使用单位领域检查信息15条次,医疗机构使用药品质量安全领域检查信息公开11条次加大药品行政处罚案件信息公开力度,震慑违法者,促进执法者规范公正文明执法,保障群众用药安全。



重点活动信息公开。针对药品监管领域开展的重点活动,严把行政执法案件公开质量,对信息公开流程、主体、范围、内容、时限、渠道等规范公示。


重点媒体信息公开。加强与各级新闻媒体的沟通联系,积极争取支持,善于借助媒体,主动引导媒体,确保信息畅通、宣传高效,引导公众科学认知药品安全,提高公众安全用药科学素养,营造人人重视安全用药、共同守护药品安全的良好社会氛围。


【打印本页】【关闭窗口】

Produced By 大汉网络 大汉版通发布系统